重庆防盗报警紧急求救系统施工组织解决方案
重庆防盗报警紧急求救系统施工组织解决方案-重庆监控安装工程公司
紧急求救系统
施工准备
材料、设备
前端设备:报警通讯主机、键盘、声/光报警器、警灯、警铃、计算机(内置系统管理软件)、打印机、不间断电源等。
传输部分:报警控制箱、电线、电缆等。
终端设备:门(窗)磁、主(被)动红外线探测器、微波探测器、超声波探测器、双鉴探测器、报警按钮、玻璃破碎探测器、电磁门锁、周界探测器等。
上述设备材料应根据合同文件及设计要求选型,对设备、材料和软件进行进场验收,并填写验收记录。设备应有产品合格证、检测报告、“CCC”认证标识、安装及使用说明书等。如果是进口产品,则需提供原产地证明和商检证明,配套提供的质量合格证明,检测报告及安装、使用、维护说明书的中文文本。设备安装前,应根据使用说明书,进行全部检查,方可安装。
镀锌材料:镀锌钢管、镀锌线槽、金属膨胀螺栓、金属软管。
其它材料:塑料胀管、机螺钉、平垫圈、弹簧垫圈、接线端子、绝缘胶布、各类接头等。
机具设备
安装器具:手电钻、冲击钻、对讲机、梯子、电工组合工具。
测量器具:250V兆欧表、500V兆欧表、水平尺、钢尺、小线。
作业条件
管理室内土建工程内装修完毕,门、窗、门锁装配齐全完整。
管理室内、弱电竖井、建筑内其他公共部分及外围的布线线缆沟、槽、管、箱、盒施工完毕。
技术准备
施工图纸齐全。
施工方案编制完毕并经审批。
施工前应组织施工人员熟悉图纸、方案及专业设计安装使用说明书,并进行有氏对性的培训及安全、技术交底。
操作工艺
工艺流程
管路敷设→报警控制箱安装→线缆敷设→终端设备安装→设备接线、调试
操作方法
报警控制箱安装
报警控制箱安装位置、高度应符合设计要求,在无设计要求时,宜安装于较隐蔽或安全的地方,底边距地宜为1.4m。
暗装报警控制箱体箱时,箱体框架应紧贴建筑物表面。严禁采用电焊或气焊将箱体与预埋管焊在一起。管入箱应用锁母固定。
明装报警控制箱时,应找准标高,进行钻孔,埋入金属膨胀螺栓进行固定。箱体背板与墙面平齐。
报警控制器箱的交流电源应单独敷设,严禁与信号线或低压直流电源线穿在同一管内。
线缆敷设
布放线缆前应对其进行绝缘测试,电线电缆线间和线对地间的绝缘电阻必须大于0.5MΩ,测试合格后方可敷设。
布放线缆应排列整齐,不拧绞,尽量减少交叉,交叉处粗线在下,细线在上。
管内不得有接头,接头必须在线盒(箱)处连接。
所敷设的线缆两端必须做好标记。同轴电缆的屏蔽层均需单端可靠接地。
线管不能直接进入设备接线盒内时,线管出线口与设备接线端子之间,必须采用金属软管过渡连接,软管长度不得超过1m,并不得将线缆直接**。
终端设备安装
报警系统终端设备的安装位置应符合设计要求,并符合以下规定:
(1)微波探测器灵敏度很高,安装时应不要对着门、窗,以免室外活动物体引起误报警。
(2)超声波探测器容易受风和空气流动的影响,安装时不要靠近排风扇和暖气。
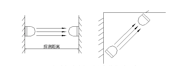
(3)主动红外探测器在安装时,收、发装置应相互正对,且中间不得有遮挡物,见图。

图 主动红外线探测器安装位置示意图
(4)被动红外探测器安装时,探测扇区应与入侵方向相垂直,被保护区域应在探测扇区范围内,见图。与热源保持1.5m以上间距。避免强光直射。同时应注意探测扇区内不应有遮挡物。

图 被动红外线探测器的布置方法
(5)安装双鉴探测器时,宜使探测器轴线与保护对象的方向成45 °夹角。
探测器安装时,应先将盒内的线缆引出,压接在探测器的接线端子上,将富余线缆盘回盒内,将探测器底座用螺钉固定在盒上,固定要牢固可靠。
设备接线、调试
接线前,将已布放的线缆再次进行对地与线间绝缘摇测,合格后按照设备接线图进行设备端接。
入侵报警主机及控制器采用专用接头与线缆进行连接,且压接牢固。设备及电缆屏蔽层应压接好保护地线,接地电阻值不应大于1Ω。
按照施工图纸及产品说明书,连接系统打印机、UPS电源等外围设备。
在计算机管理主机上安装入侵报警系统管理软件,并进行初始化设置。
分别对各报警控制器进行地址编码,存储于系统主机内,并进行记录。
对探测器进行盲区检测、防动物功能检测、防拆卸功能检测、信号线开路或短路报警功能检测、电源线被剪的报警功能检测、现场设备接入率及完好率测试等。
检测系统的撤防、布防功能,关机报警功能,报警系统管理软件(含电子地图)功能检测。
上一篇: 重庆红外入侵报警系统解决方案
下一篇: 重庆弱电机房装修工程解决方案
